М
Молодежь
К
Компьютеры-и-электроника
Д
Дом-и-сад
С
Стиль-и-уход-за-собой
П
Праздники-и-традиции
Т
Транспорт
П
Путешествия
С
Семейная-жизнь
Ф
Философия-и-религия
Б
Без категории
М
Мир-работы
Х
Хобби-и-рукоделие
И
Искусство-и-развлечения
В
Взаимоотношения
З
Здоровье
К
Кулинария-и-гостеприимство
Ф
Финансы-и-бизнес
П
Питомцы-и-животные
О
Образование
О
Образование-и-коммуникации

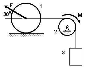
Механическая система из трех элементов, связанных нерастяжимыми нитями, начинает двигаться из состояния покоя под действием собственного веса, а также заданных постоянной силы F = 2 Н и постоянного момента М = 3 Нм. Массы элементов m1 = 6 кг, m2 = 2 кг, m3 = 5 кг. Масса шкива 2 сосредоточена в ободе. Каток 1 считать сплошным однородным диском. Трением пренебречь. Радиус катка R = 0,2 м, радиус шкива r = 0,1 м. Определить угловую скорость катка 1 в тот момент, когда груз 3 пройдет расстояние S = 0,2 м.


Механическая система из трех элементов, связанных нерастяжимыми нитями, начинает двигаться из состоя

👇
Открыть все ответы
Ответ:
sinyavska1988
sinyavska1988
10.05.2020
По ЗСЭ (закону сохранения энергии)
максимальная высота будет в момент, когда вся кинетическая энергия перейдёт в потенциальную , то-бишь : Ек = Еп , где Еп = mgh 
отсюда h = Ек / mg = 200 / 0,5 *10 = 40 м

Т.к. полная механическая энергия не меняется в данной замкнутой системе , то на высоте 10 м будет и кинетическая и потенциальная энергия .
Полная механическая энергия - максимальная кинетическая,либо потенциальная энергия.
Ek max = Ek + Ep 
200дж = mv^2/2 + mgh
отсюда  v = sqrt( 2*(Ekmax - mgh )/m ) = 24,5 м/c
4,5(96 оценок)
Ответ:
olya1234567890r
olya1234567890r
10.05.2020
Рассказ вызвал очень много чувств. Трудно смириться с тем, что человек может быть настолько разным, совершать настолько разные поступки, не испытывая при этом видимых нравственных затруднений, как это делал полковник. Л.Н. Толстой специально нарисовал такой контраст, чтобы глубже подчеркнуть разломы в душах многих людей того времени. Наверное, сейчас тоже есть люди, которые меняют социальные роли, как маски, и в разных местах ведут себя совершенно противоположным образом. Анализ Л.Н. Толстого ещё тоньше, нежели у Н.В. Гоголя или М.Е. Салтыкова-Щедрина, потому что те же гоголевские персонажи принципиально не могут испытывать определённые высокие чувства, такие, как любовь, открытая радость, воодушевление; каждый момент искренности обнажает в них людей мелочных, завистливых и циничных. Совсем не таков толстовский полковник. Он может быть радостен, искренне приятен в общении, обаятелен. Но в то же время готов, надев маску армейского начальника, действовать безжалостно, с методичной холодной яростью. Человек по природе своей целостное существо, и в поведении он должен стараться исходить из единых внутренних критериев. Для Л.Н. Толстого это были христианские заповеди. Когда же эти критерии различны, то цельная личность распадается. Рассказчик инстинктивно сохранил в себе эту цельность, отказавшись входить в мир, где преуспеть можно было только путём раскола и изолирования друг от друга разных частей личности. В нормальном человеке мысль, слово и дело едины, а когда в самой сердцевине души отгораживаются противоположные мысли, человек перестаёт уподобляться богу, по образу которого он создан. Распознать таких людей гораздо сложнее, чем гоголевских персонажей, ибо их надо наблюдать в различных ситуациях. Можно незаметно попасть в зависимость от такого человека, проникнувшись к нему первоначальным доверием, тогда после возникнет потрясение, подобное тому, что испытал Иван Васильевич. Рассказ учит тому, что цельность во всех проявлениях жизни, верность единому нравственному чувству — истинно человеческие качества, они стоят над меняющимися социальными или расовыми различиями.
Повествователь— это особый художественный образ, от имени которого ведётся повествование в произведении. Иногда позиция повествователя сближается с позицией автора, иногда существенно расходится с ней. Можно вспомнить «Левшу» Лескова, «Ночь перед Рождеством» Гоголя, «Каменный цветок» Бажова: в них авторы создают яркие образы повествователей.
Повествователей два: первый, очевидно, молодой человек, ведёт повествование от первого лица— но не единственного, а множественного числа («спросили мы», «сказал один из нас»), то есть первый повествователь является как бы лицом собирательным. Он вводит нас в ситуацию, в которой происходит беседа молодых людей о влиянии условий на формирование человека; в беседе принимает участие «всеми уважаемый Иван Васильевич». Мы видим, что беседа эта не является исключением: такие разговоры происходят часто: «Часто он совершенно забывал повод, по которому он рассказывал...».
Второй повествователь, который, собственно, и рассказывает главную повесть,— Иван Васильевич. Он ведёт повествование об определяющем эпизоде своей жизни от первого лица. Перед нами — рассказ в рассказе.
Находим цитаты: «то, что я хочу рассказать, было в сороковых годах»; «Она и в пятьдесят лет была замечательная красавица. Но в молодости, восемнадцати лет, была прелестна...». Пятидесятилетие Вареньки Б. уже миновало, соответственно, беседа происходит в семидесятых-восьмидесятых годах XIX века. (Дагерротипные портреты впервые стали делать в 1839 году.) Собеседники Ивана Васильевича— молодые люди, ему же самому более пятидесяти лет.
Повествование от первого лица усиливает иллюзию достоверности рассказываемого и акцентирует внимание на образе повествователя. При этом автор словно бы «прячется», но не становится тождественным повествователю.
В рассказе «После бала» мы видим двух Иванов Васильевичей: первый — рассказчик, пожилой и мудрый человек, готовый поделиться с молодёжью своим жизненным опытом; второй— двадцатилетний юноша, впечатлительный, способный глубоко чувствовать и сопереживать.
Автор вводит в произведение двух рассказчиков, чтобы иллюзия достоверности была наиболее полной: нам кажется, что всё, рассказанное Толстым, — правда, что именно так оно и было. Автор обращает нас к чувствам, пережитым Иваном Васильевичем в сороковых годах, направляет вектор времени назад, но мы, читатели, чувствуем, что при этом автор смотрит далеко вперёд: он видит, что проблемы, которые были острыми в обществе в то время, ещё не изжиты, они остаются актуальными и в наши дни.
Произведение представляет из себя рассказ в рассказе, каждый из которых ведёт особый повествователь; художественное время первого рассказа (семидесятые-восьмидесятые годы) заключает в себе художественное время второго (сороковые годы), а финал выводит нас на новое время — на время, в котором живут читатели, и обращает к проблемам современности.
«Отец Вареньки был очень красивый, статный, высокий и свежий старик. Лицо у него было очень румяное, с белыми, а 1а
Nikolas I подвитыми усами, белыми же, подведёнными к усам бакенбардами и с зачёсанными вперёд височками, и та же ласковая радостная улыбка, как и у дочери, была в его блестящих глазах и губах. Сложен он был прекрасно, с широкой, небогато украшенной орденами, выпячивающейся по-военному грудью, с сильными плечами и длинными, стройными ногами. Он был воинский начальник типа старого служаки, николаевской выправки». После бала: «И, не отставая от него, шёл твёрдой, подрагивающей походкой высокий военный. Это был её отец, с своим румяным лицом и белыми усами и бакенбардами»; «Полковник шёл подле и, поглядывая то себе под ноги, то на наказываемого, втягивал в себя воздух, раздувая щёки, и медленно выпускал его через оттопыренную губу»; «Подать свежих шпицрутенов! — крикнул он, оглядываясь, и увидал меня»; «самоуверенный, гневный голос полковника».
Как уже было сказано в начале, у полковника нет истинного лица, его лица меняются в зависимости от той социальной роли, что он играет.
4,6(12 оценок)
Это интересно:
Новые ответы от MOGZ: Другие предметы
logo
Вход Регистрация
Что ты хочешь узнать?
Спроси Mozg
Открыть лучший ответ